Каждую неделю Numeralis.ru собирает главные новости цифрового маркетинга и digital-сферы.
«Вымпелком» закрывает уличную сеть Wi-Fi в Москве
Уличная сеть Wi-Fi в Москве, принадлежащая «Вымпелком» (бренд «Билайн»), 10 июля будет закрыта. Раньше оператор хотел продать ее как «непрофильный актив», так как проект приносит убытки.
Новостные агрегаторы приравнены к СМИ
В третьем окончательном чтении Государственная дума РФ приняла законопроект, приравнивающий новостные агрегаторы к СМИ. Законопроект поддержали 319 членов парламента и никто не высказался «против». Компания «Яндекс» прокомментировала принятый законопроект, назвав его «невыполнимым».
360-градусное фото доступно для всех пользователей Facebook
Глава соцсети Facebook Марк Цукерберг сообщил, что 360-градусные фото доступны для всех пользователей. Панорамные фотографии можно будет просматривать с помощью шлема виртуальной реальности.
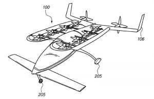
Ларри Пейдж инвестирует в «летающие автомобили»

Ларри Пейдж — сооснователь Google, финансирует стартапы Zee.Aero и Kitty Hawk, которые разрабатывают «летающие автомобили». За шесть лет он инвестировал $100 млн
«Держитесь там! Хорошего вам настроения, здоровья»

Tele2 отказался от рекламы с фразой Медведева «Держитесь там! Хорошего вам настроения, здоровья» и снял ее со всех носителей. Рекламу разработало агентство The Directors. В Tele2 подтвердили эту информацию и прекращение сотрудничества с агентством.
Киберспорт признан официальным видом спорта в России
Киберспортивные состязания будут проводиться при поддержке Минспорта после публикации приказа о внесении киберспорта в список официально признанных видов спорта. Игроки смогут получить звания «Мастер спорта России», «Мастер спорта международного класса» и «Заслуженный мастер спорта России»
